×
样片申请
姓名
电话
样品名称
数量
公司
邮箱地址
规格

首页 - 产品中心 - IBSD2016

IBSD2016

产品描述

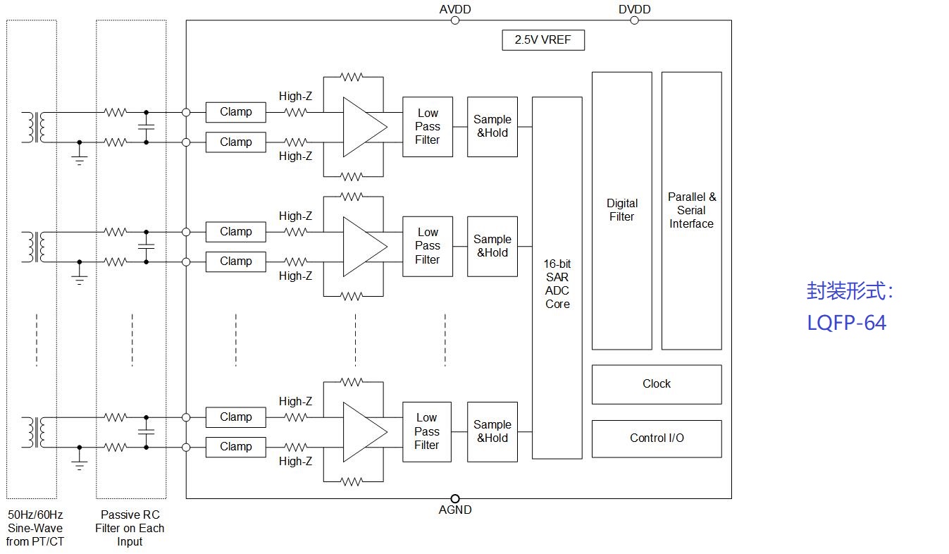
       IBSD2016是一款8通道、16位的集成式数据釆集系统(DAQ)芯片,所有通道均能以最高200kSPS的吞吐速 率采样。该芯片含有一个完整的模拟前端,包括输入钳位保护、抗混叠滤波器、跟踪保持放大器、ADC输入驱动器、 16位电荷再分配逐次逼近型模数转换器(SAR ADC)、带缓冲器的低漂移高精度基准电压。IBSD2016釆用5V单电源供电,并且可配置为处理±10V或±5V真双极输入。高输入阻抗特性允许直连传感器和变压器,因此无需使用外部驱动器电路。此器件能够实现高性能、高精度以及零延迟转换,因此非常适用于工业自动化和控制场景。


功能框图

112913473547.jpg


产品特性

l8路同步釆样输入

l真双极模拟输入范围:±10V、±5V

l5V单模拟电源,2.3 ~ 5V I/O电源

l集成式数据采集系统

        模拟输入钳位保护

        二阶抗混叠模拟滤波器

        高阻输入缓冲器

        片内紧密基准电压和缓冲

        数字滤波器提供过釆样功能

        灵活的并行和串行通信口

l优异的性能

         16位分辨率

        200kSPS最大吞吐率(所有通道)

         95dB SNR, -107dB THD

         ±0.5dB LSB INL, ±0.5dB LSB DNL

l功耗:100mW,待机模式25mW

应用场景

203833602351.jpg

×
样片申请
姓名
电话
样品名称
数量
公司
邮箱地址
规格

社交网络: wechat logo

扫一扫加好友

版权信息:英彼森半导体(珠海)有限公司

ICP备案:粤ICP备20051918号-1, 公安备案:公安备案图标 粤公网安备44049202000255号