×
样片申请
姓名
电话
样品名称
数量
公司
邮箱地址
规格

首页 - 产品中心 - Himalaya800

Himalaya800

产品描述

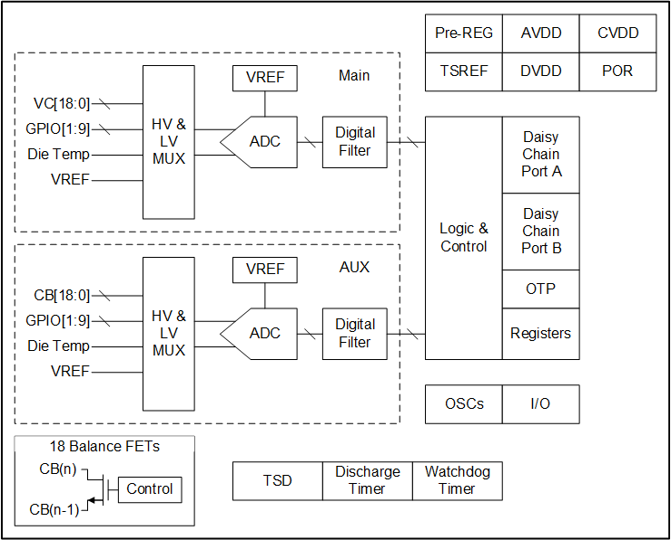
       Himalaya800是一款多通道锂电池监控器芯片,适用于高串数电池组。Himalaya800单芯片支持测量多达18个串联电池的电压,其测量误差小于±2mV。Himalaya800多个芯片以菊花链形式连接,通过最顶端或底端的器件连接到主处理器。该菊花链可双向操作,即使通信路径出错,也能确保通信完整性。Himalaya800包括针对每个电池的被动均衡,可对每个电池单元进行单独的脉宽调制(PWM)占空比控制。Himalaya 800还包含9个 GPIO 或辅助输入,可执行外部热敏电阻测量。


功能框图

图片11.png


产品特性

l可测量多达18节串联电芯的电压

l最大测量误差:±2 mV(每节电池单元3.3 V,–40 ~ 125°C)

l可配置集成低通滤波

l支持母线测量配置

l可耐受120V的电源电压

l多达9个通用模拟输入或数字I/O

l支持内部被动平衡,每通道高达200 mA,具有可编程脉冲宽度调制

l关断状态下的电池单元电压和温度监控模式

l支持热插拔,无需外部保护

l用于高压电池包的可堆叠架构

    菊花链通信

    2Mbps隔离串行通信

    使用单根双绞线,每段长达20米

    低EMI敏感性和辐射

    双向断线保护

    可使用耦合变压器或电容

l可选通过AEC-Q100和ASIL-D的汽车应用认证型号

l64 引脚 eLQFP 封装

应用场景

6632.jpg

×
样片申请
姓名
电话
样品名称
数量
公司
邮箱地址
规格

社交网络: wechat logo

扫一扫加好友

版权信息:英彼森半导体(珠海)有限公司

ICP备案:粤ICP备20051918号-1, 公安备案:公安备案图标 粤公网安备44049202000255号